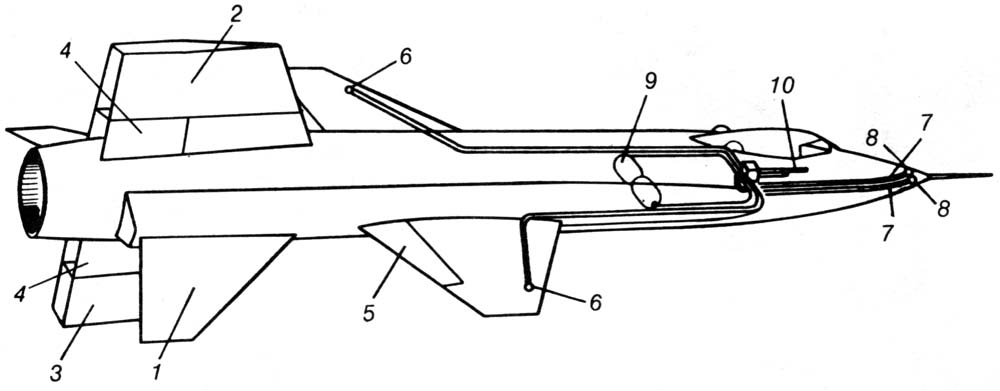
Элементы аэродинамической системы управления самолета Х-15.

  1. управляемый дифференциальный стабилизатор;
  2. поворотная часть киля;
  3. отъемная нижняя часть подфюзеляжного киля;
  4. тормозные щитки;
  5. закрылки;
  1. реактивные сопла поперечного управления;
  2. реактивные сопла продольного управления;
  3. реактивные сопла управления рысканием;
  4. баллон сжатого воздуха;
  5. рычаг подсистемы реактивного управления.